600多家药店关门!

2025-12-02    赛柏蓝 HaiPress

山东、广西、广东多地知名连锁申请破产或注销部分药店。

至少超600家药店黯然退场

近日,来自山东青岛市崂山区人民法院的公告,为青岛医保城药品连锁有限公司(下称“青岛医保城”)20余年的辉煌,正式画上了句号——法院已裁定受理其破产重整申请。

企查查信息显示,青岛医保城成立于2003年,注册资金1亿元。青岛医保城曾在山东青岛、济南、潍坊、淄博等地经营700余家药店,经营总面积超过10万平方米,是本地当之无愧的药店龙头,还曾跻身过中国医药连锁百强之列。

然而,今年青岛医保城提交的资产负债表显示,2025年4月公司已负债约2.56亿元,仍在经营的门店仅剩133家。

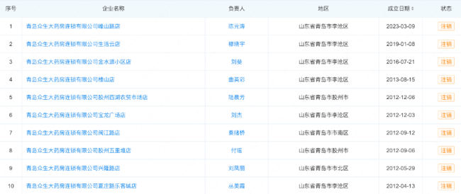
同样在青岛,全国企业破产重整案件信息网显示,华润旗下的青岛众生大药房连锁有限公司(以下简称“青岛众生”),已被其全资控股股东华润青岛医药有限公司申请破产清算。

与青岛医保城尚存经营门店不同的是,成立于2003年的青岛众生,旗下50家门店目前已全部注销。

值得注意的是,早在破产清算之前,两家企业就已多次出现在青岛市医保局发布的“中止或解除定点医药机构服务协议”的相关通告名单中。

申请解除协议

中止协议

不仅在青岛,药店“关店潮”也蔓延到了南方。

广西桂林七星区人民法院近日受理了广西保民大药房连锁有限公司破产清算一案。企查查信息显示,旗下46家门店中,目前已有4家被吊销、28家被注销。

广东湛江市徐闻县当地市场监督管理局发布通告显示,注销了广东养天和九济堂医药连锁有限公司康福乐龙塘分店、徐闻县和安镇福康药店等22家药店。从名单来看,此次注销不仅覆盖了连锁,还有个体,大部分主体为县域药店。

这背后是多重因素叠加的结果。

一方面,常态化的飞检、大数据驱动的专项检查以及今年开始追溯码应用,行业合规要求及合规成本越来越高,无法在合规要求下稳定盈利的药店将逐步退出市场,行业出清速度将会加快。

如11月14日,国家医保局发布的第二批《各地医保部门落实定点医药机构相关人员医保支付资格管理制度典型案例》中,通报了海南省三亚市、江西省赣州市、湖南省娄底市、浙江省嵊州市多地药房欺诈骗保案例。

另一方面,药店数量早已饱和,2024年全国药店数量68万,业内曾表示“一条街药店比饭店”数量都多。

从2023年7%的同比增长,到2024年大幅放缓至2.5%。数据清晰地表明,实体药店“野蛮扩张”的时代落幕。

与此同时,线上药店持续分流线下客源,进一步挤压了实体药店的生存空间。米内网数据显示,2025年上半年实体药店药品销售额达2412亿,同比下滑0.9%;网上药店药品销售额虽为455亿元,但同比增长16.8%。

行业开始回暖,但分化持续“专业”“多元”成发展关键词

好的一方面是,米内网数据显示,中国实体药店市场已有回暖态势。8月和9月线下药店零售规模分别达到504亿元、538亿元,9月开始药店销售跌幅有所收窄。

四年前,商务部发布《关于“十四五”时期促进药品流通行业高质量发展的指导意见》,提出到2025年培育形成5-10家超过500亿的专业化、多元化药品零售连锁企业,药品零售百强企业年销售额占药品零售市场总额65%以上,药品零售连锁率要接近70%。

这一目标,正逐步实现。《中国药店》和中信证券数据,2024年十强、百强连锁市场占有率持续提升,大型医药零售企业依托规模和品牌优势稳步扩张。

从六大连锁2025年第三季度报告看,益丰、老百姓、大参林、漱玉平民均实现了营收和利润同比双增长,头部呈现回暖和强者恒强态势。

由此可见,这场席卷药店行业的“关店潮”,既是市场饱和与合规成本加大下的阵痛,也是行业迈向集中、高质量发展的必然“洗牌”。

这其中的关键是,对医药行业方向的把控。

很多以往只做院内渠道的品牌近几年也相继成立院外渠道事业部。为把握政策机遇,如大参林重点构建处方承接体系,对接区域处方流转平台、加密布局院边店及DTP药房、拓展门慢门特等专业服务场景。

2025年上半年,公司直营门店中拥有DTP专业药房278家;门诊统筹定点门店2105家;双通道定点门店654家,门慢门特定点门店1231家。

未来,随着创新药商业化成为医药产业增长的主要动能,其在用药结构中的占比正稳步提升。有业内专家预测,到2030年创新药市场份额有望突破20%,而仿制药、专利过期原研药及中药的用药金额占比将相应下降。

这意味着,未来药店的竞争力,不再仅仅取决于门店数量或价格优势,更取决于其能否构建起服务高价值创新药的专业能力——包括专业的药师服务、冷链物流管理、与上游药企的深度合作以及精准的患者管理。

大参林称,公司已布局了“医+药+养+检+险”的业务闭环,可降低患者使用创新药的负担,进一步推动了药品特别是创新药品种的销售。

另外,今年国家医保局发布《关于加快发展商业健康保险的若干措施》,未来或许商保能为高值药品等专业服务提供重要的支付支撑。大参林透露,公司已经积极探索药品和保险业务相结合的增值模式,逐步推广商业保险经纪以及报销业务。

除专业化外,多元发展也是决定头部连锁未来发展格局与生存空间的关键词。

数据显示,日本药妆行业2022年非药品销售占比达到了67.3%;美国CVS药店2024年医疗服务和医疗保障收入达到了71%,而我国药店2024年的非药类销售占比仅18.6%。相比之下,我国药店在商品及服务多元化方面仍有很大的发展空间。

今年一心堂全新打造了非药业务板块,涵盖保健食品、医疗器械、泛健康三大核心品类的销售,其中泛健康品类(美妆、个护、母婴、潮玩)作为核心驱动力,2025年前三季度保持高双位数增长,截至2025年9月已完成805家门店的调改升级。

漱玉平民2025年上半年也打造了健康体验店、O2O专营店、养生集合店等多种店型试点推广,上半年健康体验店销售同比提升5%,非药品类销售占比高于其他门店5%。

当野蛮扩张的时代落幕,专业化、多元化的高质量服务将成为药店新的竞争高地。

(责任编辑:zx0600)

免责声明:本文转载自其它媒体,转载目的在于传递更多信息,并不代表本网赞同其观点和对其真实性负责,亦不负任何法律责任。 本站所有资源全部收集于互联网,分享目的仅供大家学习与参考,如有版权或知识产权侵犯等,请给我们留言。

最新

友情链接

Back to top
©版权 2009-2020 武威新闻   WuweiNews.com.cn   联系我们   SiteMap